装机吧 - 系统装机大师 最简单易用的系统重装工具,让我们一起装机吧!支持 Windows XP、7、8、 10 原版镜像安装。支持 U 盘 PE 制作、PE 联网等多种功能选择。
  • 立即下载
  • 已下载:1000000+
    版本:12.6.48.1900 | 大小:31MB
当前位置:首页 > win7
您的位置:首页 > win7
如何升级bios方法
装机吧 2019年04月29日 13:20:00

  如何升级bios呢? 升级主板bios后,成了;另外还能增加PnP即插即用功能、新硬盘的LBA和DMA功能、识别其它新硬件等等,简直就是免费升级电脑! 解决莫名其妙的故障,那么就让小编告诉你们如何升级bios方法。

  升级主板BIOS至少需要两个必备品,主板的最新BIOS文件,以及刷BIOS的工具,这些都可以在主板厂商的官方网站上获取到。以小编的台式机为例,技嘉需要下载@bios刷主板工具和主板型号对应的BIOS。

1.jpg

如何升级bios方法图1
 

  在官网的首页进入<档案下载>页面,然后可以按产品类型和关键字来找相应的驱动,如下图所示,如果对芯片组清楚就选第一项,不然还是选关键字来进行查询,找到相应主板后,选择bios进入。

2.jpg

如何升级bios方法图2

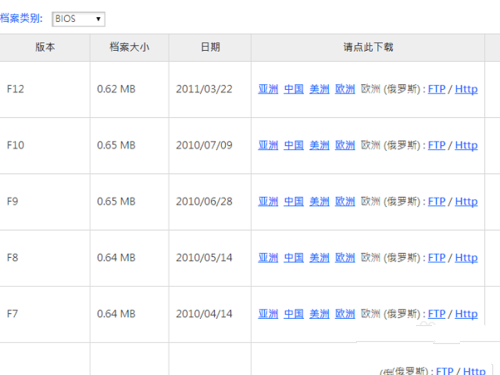
  进入BIOS页面后,由上至下是该主板的正式版BIOS,其中最上方为最新的版本,一般来说最新版本功能最全,稳定性也比较强,然后就选择站点就近下载即可。下载完Bios后,在工具软件页面,用同样方法下载@bios。

3.png

如何升级bios方法图3

  BIOS一般是个压缩软件,在电脑中找个目录解压缩即可,是个二进制的文件。@bios是个win下可安装的工具,需要双击进行安装,一键到底,要比DOS下的BIOS刷新工具好用多了,

4.jpg

如何升级bios方法图4

  安装@bios后,双击打开程序,如下图所示,需要用到管理员账号权限才能运行。在左侧的第三行可以看到当前版本的BIOS,小编目前是770T-UD3P的主板,F7代表BIOS版本号。

5.jpg

如何升级bios方法图5

  BIOS升级对电脑来说是个很危险的举动,所以作好最坏的打算是必须的,先选择右侧的第三行,save current bios to file, 把当前的BIOS备份一下,记得存在硬件的位置呵

6.jpg

如何升级bios方法图6

  前面小编已经下载好了最新版本的BIOS,所以可以直接选择右侧的第二行,update bios from file,如下图红圈位置,用下载好的文件来进行更新。

7.jpg

如何升级bios方法图7

  点开update bios from file右侧的小文件图标,会出现本地硬盘文件的选择界面,找到之前下载好的BIOS文件,如下图如例,小编下载的是F12版本的BIOS文件。

8.jpg

如何升级bios方法图8

  @BIOS会出现提醒界面,如下图所示,确认是否进行升级,并提示计算机界面会冻住几分钟,最好提前关闭掉所有的正在运行的应用程序,选择Y进行下一步。

9.jpg

如何升级bios方法图9

  下面就开始刷新BIOS时,1分钟左右就更新完成,提示重启。注意这里千万不能断电,如果刷BIOS时掉电,除非主板有主备BIOS保护,否则是必然再出开不了机,只有拿机器到维修店,用专业工具把主板的bios刷上。

10.jpg

如何升级bios方法图10

  以上就是小编给你们介绍的如何升级bios方法,升级主板bios就是这样的操作, 如果你对BIOS不是很了解的话,不要轻易更改它。完成BIOS的设置之后不要忘记了保存它,这样它才能生效。以上就是怎么设置BIOS的全部内容,希望对有需要的朋友有所帮助。

喜欢22
热门搜索
相关视频
装机吧在线重装 Window 11 教程
装机吧在线重装 Window 10 教程
猜你喜欢
wifi密码忘了怎么办?详细教您怎么解决..
2018/05/16
怎么重装系统windows7旗舰版步骤教程..
2022/05/17
为你解答win7无线网卡驱动怎么安装..
2019/02/12
安全选项卡,详细教您文件夹属性没有安..
2018/10/05
详细教您Excel筛选数据的方法..
2018/10/31
小编教你电脑机箱漏电怎么办..
2017/08/28

如何升级bios方法

分类:win7    发布时间: 2019年04月29日 13:20:00
播放 2019年04月29日 13:20:00
如何升级bios呢? 升级主板bios后,成了;另外还能增加PnP即插即用功能、新硬盘的LBA和DMA功能、识别其它新硬件等等,简直就是免费升级电脑! 解决莫名其妙的故障,那么就让小编告诉你们如何升级bios方法.

  如何升级bios呢? 升级主板bios后,成了;另外还能增加PnP即插即用功能、新硬盘的LBA和DMA功能、识别其它新硬件等等,简直就是免费升级电脑! 解决莫名其妙的故障,那么就让小编告诉你们如何升级bios方法。

  升级主板BIOS至少需要两个必备品,主板的最新BIOS文件,以及刷BIOS的工具,这些都可以在主板厂商的官方网站上获取到。以小编的台式机为例,技嘉需要下载@bios刷主板工具和主板型号对应的BIOS。

1.jpg

如何升级bios方法图1
 

  在官网的首页进入<档案下载>页面,然后可以按产品类型和关键字来找相应的驱动,如下图所示,如果对芯片组清楚就选第一项,不然还是选关键字来进行查询,找到相应主板后,选择bios进入。

2.jpg

如何升级bios方法图2

  进入BIOS页面后,由上至下是该主板的正式版BIOS,其中最上方为最新的版本,一般来说最新版本功能最全,稳定性也比较强,然后就选择站点就近下载即可。下载完Bios后,在工具软件页面,用同样方法下载@bios。

3.png

如何升级bios方法图3

  BIOS一般是个压缩软件,在电脑中找个目录解压缩即可,是个二进制的文件。@bios是个win下可安装的工具,需要双击进行安装,一键到底,要比DOS下的BIOS刷新工具好用多了,

4.jpg

如何升级bios方法图4

  安装@bios后,双击打开程序,如下图所示,需要用到管理员账号权限才能运行。在左侧的第三行可以看到当前版本的BIOS,小编目前是770T-UD3P的主板,F7代表BIOS版本号。

5.jpg

如何升级bios方法图5

  BIOS升级对电脑来说是个很危险的举动,所以作好最坏的打算是必须的,先选择右侧的第三行,save current bios to file, 把当前的BIOS备份一下,记得存在硬件的位置呵

6.jpg

如何升级bios方法图6

  前面小编已经下载好了最新版本的BIOS,所以可以直接选择右侧的第二行,update bios from file,如下图红圈位置,用下载好的文件来进行更新。

7.jpg

如何升级bios方法图7

  点开update bios from file右侧的小文件图标,会出现本地硬盘文件的选择界面,找到之前下载好的BIOS文件,如下图如例,小编下载的是F12版本的BIOS文件。

8.jpg

如何升级bios方法图8

  @BIOS会出现提醒界面,如下图所示,确认是否进行升级,并提示计算机界面会冻住几分钟,最好提前关闭掉所有的正在运行的应用程序,选择Y进行下一步。

9.jpg

如何升级bios方法图9

  下面就开始刷新BIOS时,1分钟左右就更新完成,提示重启。注意这里千万不能断电,如果刷BIOS时掉电,除非主板有主备BIOS保护,否则是必然再出开不了机,只有拿机器到维修店,用专业工具把主板的bios刷上。

10.jpg

如何升级bios方法图10

  以上就是小编给你们介绍的如何升级bios方法,升级主板bios就是这样的操作, 如果你对BIOS不是很了解的话,不要轻易更改它。完成BIOS的设置之后不要忘记了保存它,这样它才能生效。以上就是怎么设置BIOS的全部内容,希望对有需要的朋友有所帮助。

栏目:win7 阅读: 2019/05/24
栏目:win7 阅读: 2018/07/11
装机吧一键重装系统

版权所有 © 2012-2020 保留所有权利